|
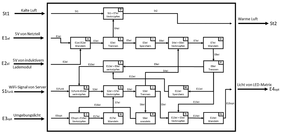
- Die Funktionsstruktur dient
dem Strukturieren der Aufgabe (Gesamtfunktion) in Teilaufgaben
(Hauptfunktion und Nebenfunktionen). Unten stehend werden die
einzelnen Funktionen (nach Roth) der Funktionsstruktur dargestellt.
-

Abb.: Funktionsstruktur des Systems
|